Produkte / Drehbankfutter,Planscheiben und Flansche


Flansche aus Guss

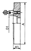
Typ 8232 DIN 55027

Bauart: Gussflansch für Drehmaschinenfutter zum nachträglichen Anbau auf Drehfutter ohne Löcher, maschinenseitig fertig bearbeitet und futterseitig geplant.

Material: Grauguss

Größe D mm Kegel-Ø D1 mm Höhe H1 mm Außen-Ø A mm
125/4 63,513 19,5 127
160/4 63,513 24,0 162
160/5 82,563 24,0 162
200/5 82,563 38,0 203
200/6 106,375 33,0 203
250/6 106,375 50,0 253
Größe D mm Kegel-Ø D1 mm Höhe H1 mm Außen-Ø A mm
250/8 139,719 46,0 253
315/8 139,719 55,0 318
400/8 139,719 43,0 405
400/11 196,869 47,0 405
500/11 196,869 45,0 505
630/11 196,869 45,0 635