Produkte / Drehbankfutter,Planscheiben und Flansche


Flansche aus Guss

Typ 8240 DIN 55029

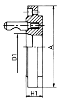
Bauart: Gussflansch für Drehmaschinenfutter zum nachträglichen Anbau auf Drehfutter, maschinenseitig fertig bearbeitet, futterseitig vorgedreht und gebohrt.

Material: Grauguss

Größe D mm Kegel-Ø D1 mm Höhe H1 mm Außen-Ø A mm
160/4 63,513 27,0 160,5
160/5 82,563 30,0 160,5
200/5 82,563 30,0 201,0
200/6 106,375 36,5 201,0
250/6 106,375 36,5 251,0
250/8 139,719 39,0 251,0
Größe D mm Kegel-Ø D1 mm Höhe H1 mm Außen-Ø A mm
315/6 106,375 39,5 316,0
315/8 139,719 42,0 316,0
315/11 196,869 47,0 316,0
400/8 139,719 39,0 402,0
400/11 196,869 47,0 402,0