Produkte / Drehbankfutter,Planscheiben und Flansche


Flansche aus Guss

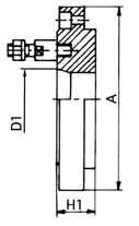
Typ 8230 DIN 55027

Bauart: Gussflansch für Drehmaschinenfutter zum nachträglichen Anbau auf Drehfutter, maschinenseitig fertig bearbeitet, futterseitig vorgedreht und gebohrt.

Material: Grauguss

Größe D mm Kegel-Ø D1 mm Höhe H1 mm Außen-Ø A mm
160/4 63,513 21 160,5
160/5 82,563 21 160,5
200/5 82,563 21 201,0
200/6 106,375 21 201,0
250/6 106,375 21 251,0
250/8 139,719 26 251,0
Größe D mm Kegel-Ø D1 mm Höhe H1 mm Außen-Ø A mm
315/6 106,375 33 316,0
315/8 139,719 33 316,0
315/11 196,869 33 316,0
400/8 139,719 33 402,0
400/11 196,869 33 402,0