Produkte / Drehbankfutter,Planscheiben und Flansche


Planscheiben aus Guss

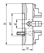
Typ 4305

Bauart: Planscheibe mit zylindrischer Aufnahme von unregelmäßig geformten Werkstücken. Maximale Drehzahlangabe nur bei zentrischer Spannung der Werkstücke gültig! Ersatzbacken: HUB-Harte Umkehrbacken, GB-Grundbacken, HAB-Harte Aufsatzbacken.

Material: Der Körper ist aus Guss. Die Spannflächen der Stahlbacken sind gehärtet.

Lieferumfang: 1 Satz geteilte Backen, 1 Spannschlüssel und Befestigungsschrauben.

Größe D mm Zentrier-Ø d1 H7 mm Bohrungs-Ø d mm Höhe o. Backen H mm Max. Drehzahl min-1
200 110,00 50 80 1800
250 150,00 65 85 1500
315 175,00 80 95 1200
400 200,00 100 105 800
500 270,00 125 120 500
630 270,00 160 140 400
800 380,00 200 160 300
915 370,00 190 170 150
1000 370,00 190 170 150
1250 550,00 190 190 100